SCI论文(www.lunwensci.com)
摘要:针对2022年全国高考甲卷物理第33题,重新审视试题,可以发现有多种解题方法,会给我们提供另一种对题目理解的思路.本文以2022年全国高考甲卷物理第33题第(2)小题第(ⅱ)问为例,对高考物理试题的解法进行探讨.
关键词:高考物理,解题方法,一种多解,气体
1试题及多种解法
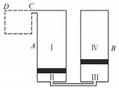
题目(2022全国甲卷)33.(2)如图1,容积均为V0、缸壁可导热的A、B两汽缸放置在压强为p0、温度为T0的环境中;两汽缸的底部通过细管连通,A汽缸的顶部通过开口C与外界相通;汽缸内的两活塞将缸内气体分成Ⅰ、Ⅱ、Ⅲ、Ⅳ四部分,其中第Ⅱ、Ⅲ部分的体积分别为八分之一V0和四分之一V0.环境压强保持不变,不计活塞的质量和体积,忽略摩擦.
(ⅰ)将环境温度缓慢升高,求B汽缸中的活塞刚到达汽缸底部时的温度;
(ⅱ)将环境温度缓慢改变至2T0,然后用气泵从开口C向汽缸内缓慢注入气体,求A汽缸中的活塞到达汽缸底部后,B汽缸内第Ⅳ部分气体的压强.本文主要谈第(ⅱ)问的多程解法.解法一分过程、分部分利用玻意耳定律、盖-吕萨克定律和查理定律求解.设环境温度为2T0时,第Ⅳ部分气体的压强为p1,根据查理定律,有如图:
环境压强始终不变,设环境温度变为2T0时,第Ⅱ、Ⅲ两部分气体的体积之和为V2,根据盖-吕萨克定律,有如图:
当用气泵从开口C中的活塞到达汽缸底部后,设B汽缸中的活塞上、下两部分气体的体积分别为V4和V3,压强均为p3,根据玻意耳定律,有如图:
简评此种解法紧扣物理过程,强调气体三大实验定律的实际应用,体现学生学以致用的能力.从考试的角度来说,各个环节都能紧扣相应的得分点,有利于学生得更多的分.
解法二利用理想气体状态方程求解.
设当A中的活塞到达汽缸底部时Ⅲ中气体的压强为p,则此时Ⅳ内的气体压强也等于p,设此时Ⅳ内的气体的体积为V,则Ⅱ、Ⅲ两部分气体被压缩的体积为V0-V,则对第Ⅳ部分气体,有如图5:
简评此种解法以Ⅱ、Ⅲ两部分气体和Ⅳ部分气体为研究对象,从最初状态和最末状态分别列出理想气体状态方程进行求解,运算过程相对简单,有利于学生更快地作出解答.
解法三利用整体法思想通过理想气体状态方程求解.简评此种解法运用了整体法思想,建构了一个新的汽缸活塞模型,关注最初状态和最末状态,运用一个理想气体状态方程,花很少的时间就能够轻易解出,不失为考试中的一种好方法.
解法四先求出Ⅱ、Ⅲ部分气体与Ⅳ部分的体积比例,然后通过理想气体状态方程求解.初始时,
当用气泵从开口C向汽缸内注入气体,A汽缸中的活塞到达汽缸底部后,Ⅱ、Ⅲ部分气体与Ⅳ部分的比例仍为1∶2,则如图8:
简评此种解法的关键在于求出Ⅱ、Ⅲ部分气体与Ⅳ部分气体的体积比例,研究对象只需要一个即可根据理想气体状态方程求出结果.解法五从充入气体的角度,利用玻意耳定律、盖-吕萨克定律和查理定律求解.(如图9)
简评此种解法从充入气体的角度来求解,对学生的能力要求要高一些,运算过程相对复杂,在实际考试中容易出错而丢分.
解法六将汽缸看作是直缸.
如图3,将汽缸A看作与汽缸B竖直相连,将两个汽缸看作是一个汽缸.
则由理想气体状态方程可得到(如图12):
简评此种解法要求学生具有一定的空间想象力,能够把通过细管相连的两个汽缸看作是一个汽缸,将复杂的模型转换成学生熟悉的简单模型,运用物理知识能够快速解出.具体运算同解法三.
解法七利用道尔顿分压定律求解.
设充气后,第Ⅲ、Ⅳ四部分气体体积分别为V3和V4,则由道尔顿分压定律可得(如图14):
V3+V4=V0
联立可以解得p=

p0
简评此种解法利用了道尔顿分压定律,从数学的角度,与整体法的运算相当.道尔顿分压定律并非高中物理课标中的学习内容,大多数学生是不知道的,但有些学生却是知道该定律的,运用来解决物理问题当然也是可以的.
以上列举了七种解题方法,可能还有其他的方法.不管是哪种方法,都是在考查学生利用物理知识解决问题的能力.一道题的多种解题方法中,每种方法都体现了不同的审题意识与解题思想,从不同的角度反映出学生的物理核心素养.
2思考与建议
在平常的教学中,利用好一题多解的素材,可以充分训练学生的物理素养.如:若将这道试题作为教学素材,老师先引导学生从方法一的角度将物理过程做到清晰的梳理,明确每一个物理过程的变化,再利用相关物理知识对每一个物理过程进行解决问题.之后,引导学生寻求解决问题的其他方法,调动学生的能动性,将不同的方法都呈现在课堂里,围绕每一种方法进行讨论,引领学生从不同的角度去认识题目,理解物理过程,并用不同的方法解决问题.这虽然会花很多教学时间,但这样做能取得非常好的学习效果,也能有效培养学生的物理核心素养.
总之,在平常的教学中,发挥学生的能动性,引导学生构建模型,或者将复杂模型进行简化,用更多的方法解题.而在考试中,选择一种对于自己来说最简单的方法,这样既能保证得到更多的分数,也能争取到宝贵的考试时间.
参考文献:
[1]人民教育出版社,课程教材研究所,物理课程教材研究开发中心.普通高中课程实验教科书·物理[M].北京:人民教育出版社,2010.
关注SCI论文创作发表,寻求SCI论文修改润色、SCI论文代发表等服务支撑,请锁定SCI论文网! 文章出自SCI论文网转载请注明出处:https://www.lunwensci.com/jiaoyulunwen/70430.html