SCI论文(www.lunwensci.com):
摘要:目的 探究一符合急危重症患者临床与延续护理需要的实用新型防漏尿导尿管的研制方法。方法 导尿管材料使用医用硅胶材料组成,其包括尿管本体、充气气囊和吸水防水层,其中尿管本体的前部带有尿道内储气囊,所述充气气囊通过导气管与尿管本体的扩张腔连通,在导气管上设有气阀;所述吸水防水层则套装在尿管本体位于后部的管体上。其设计原理在于:通过外置的充气气囊调节位于导尿管前部的尿道内储气囊的扩张尺寸,以匹配患者尿道口大小来阻止尿液外漏,并且在导尿管后部套装吸水防水层,以吸收自尿道内储气囊外渗并沿着尿管本体漏洒的尿液。结果 新型防漏尿导尿管通过调节尿道内储气囊的大小能从根本上有效阻止患者体内的尿液外漏,即使尿道内储气囊出现松动或者其他原因导致尿液外漏时,吸水防水层能吸收外漏尿液,从而降低患者会阴部潮湿度, 并保持长时间的干爽,减少尿路逆行性感染。结论 新型防漏尿导尿管使用安全,能够有效减少患者漏尿频次,降低尿路感染率,减少失禁性皮炎等并发症,保持患者会阴干燥。
关键词 : 急危重症患者;新型防漏尿导尿管;并发症;护理
本文引用格式:尤伟,范小羽 . 一种新型防漏尿导尿管的研制 [J]. 世界最新医学信息文摘 ,2018,18(71):159-160.
0引言
留置导尿是对临床各科室及危重患者进行诊治的一项重要护理措施,是用于解决尿潴留、排尿困难、手术后引流尿液或冲洗液的一种常用手段,是一种侵入性操作,插管时可能导致尿道痉挛,增加患者的痛苦,加上插管后尿道护理不当极可能导致尿路感染,影响患者术后的康复。而留置导尿管患者出现的尿路感染中,有 37.3% -56.0%是与导尿管相关的菌尿症有关,是院内感染的危险因素 [1]。留置导尿术是临床各科普遍采用的一种基本技术操作 , 特别是急危重症患者由于病情的需要,使用更为广泛。而 ICU 是医院感染的高发和感染控制的重点科室 [2],留置导尿是 ICU 最常用的基本操作,由此引起的导尿管相关性尿路感染(catheter associated- urinary tractinfection,CAUTI)也是最常见的医院获得性感染之一,占医院获得性感染的 40%[3,4]。降低 CAUTI 发生率是目前临床亟待解决的问题 [5-8]。笔者研制出一种符合急危重症患者临床与延续护理需要的实用新型防漏尿导尿管, 其创新之处为导尿管外有一个储气囊,医护人员可以根据储气囊的压力适时调整膀胱内球囊的压力,减少患者漏尿的概率,现介绍如下。
1材料与制作方法
防漏尿导尿管包括尿管本体、充气气(套)囊和吸水防水 层,其中尿管本体的材料导尿管材料采用医用硅胶材料制成, 导尿管为 12 F/16 F 尿管,管外径 0.53 cm、管长 35.0 cm,充气套囊内径 7.5mm、外径 10mm,套囊充气直径 26mm;吸水防水层包括自上而下依次设置的表层、吸水层和防漏层,其为活动 可拆卸。其中表层呈中部下凹的漏斗形,其优点在于渗入的 尿液不易回流。表层为网面无纺布层,对于尿液的吸收能力 强,有助于表层面保持干爽,避免局部皮肤受潮湿所困扰,从 而提高患者治疗舒适度;中层由高分子吸水树脂和木浆混合 制成,其底部设有水凝胶层,有助于将渗入的尿液凝结成啫喱 状,即时受压后不回渗,进一步提高表面干爽程度;防漏层选 用防水透气纺织面料 (PTFE 膜 ) 制成,有利于吸收的尿液中气体状的水分子透出,以起到及时排出湿气的作用,减少防水 层经身体排出湿气,有效降低防水层与身体之间的潮湿和闷 热程度,提高干爽清新的感受。其结构示意见图 1。

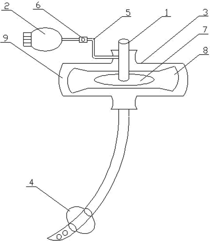
图 1 防漏尿导尿管
2使用方法
本实用新型为一种防漏尿导尿管,其具体包括尿管本体1、充气气囊 2 和吸水防水层 3,其中尿管本体 1 的前部带有尿道内储气囊 4,充气气囊 2 通过导气管 5 与尿管本体 1 的扩张腔连通,在导气管 5 上设有气阀 6;吸水防水层 3 则套装在尿管本体 1 位于后部的管体上。使用时预先通过充气气囊 2 沿着尿管本体 1 的扩张腔往尿道内储气囊 4 充气,然后关闭气阀 6,将充有一定气体的尿道内储气囊 4 以及其所附着的尿管本体 1 前部置于尿道内,然后打开气阀 6,再次通过充气气囊 2 对尿道内储气囊 4 进行充气扩张到与尿道匹配尺寸(为了保证效果,尿道内储气囊 4 扩张尺寸可大于尿道实际尺寸),然后关闭气阀 6,通过气囊壁与尿道的紧贴实现从根本上阻止尿道内的尿液外漏。在尿管本体 1 的后部管体上设置的吸水防水层 3 可针对意外情况吸收尿道渗漏以及沿着管体外壁顺流的尿液,进一步阻止患者尿液外漏,从而提高患者患处治疗的舒适度,并减少尿路逆行性感染的发生。所述吸水防水层 3 包括自上而下依次设置的表层 7、吸水层 8 和防漏层 9,其中表层 7 呈中部下凹的漏斗形,其优点在于渗入的尿液不易回流;所述表层 7 为网面无纺布层,对于尿液的吸收能力强,有助于表层面保持干爽,避免局部皮肤受潮湿所困扰,从而提高患者治疗舒适度;所述吸收层 8 由高分子吸水树脂和木浆混合制成,其底部设有水凝胶层, 有助于将渗入的尿液凝结成啫喱状,即时受压后不回渗,进一步提高表面干爽程度;所述防漏层 9 选用防水透气纺织面料 (PTFE 膜 ) 制成,有利于吸收的尿液中气体状的水分子透出,以起到及时排出湿气的作用,减少防水层经身体排出湿气,有效降低防水层与身体之间的潮湿和闷热程度,提高干爽清新的感受。
3优点
3.1本实用新型结构简单,易于在工业上实现,通过调节尿道内储气囊的大小能从根本上有效阻止患者体内的尿液外漏,即使尿道内储气囊出现松动或者其他原因导致尿液外漏时,吸水防水层能吸收外漏尿液,从而降低患者会阴部潮湿度,并保持长时间的干爽,减少尿路逆行性感染。
3.2吸水防水层包括自上而下依次设置的表层、吸水层和防漏层,其中表层呈中部下凹的漏斗形,其优点在于渗入的尿液不易回流。
3.3表层为网面无纺布层,对于尿液的吸收能力强,有助于表层面保持干爽,避免局部皮肤受潮湿所困扰,从而提高患者治疗舒适度。
3.4中层由高分子吸水树脂和木浆混合制成,其底部设有水凝胶层,有助于将渗入的尿液凝结成啫喱状,即时受压后不回渗,进一步提高表面干爽程度。
3.5防漏层选用防水透气纺织面料 (PTFE 膜 ) 制成,有利于吸收的尿液中气体状的水分子透出,以起到及时排出湿气的作用,减少防水层经身体排出湿气,有效降低防水层与身体之间的潮湿和闷热程度,提高干爽清新的感受。
3.6本尿管吸水防水层为可拆卸,每日护理人员做会阴护理时或巡视病人时可查看吸水层有无外漏的尿液,若无则可每周更换 3 次(会阴护理后),若有尿液及时更换尿垫。
3.7本产品与患者臀下垫尿垫相比较:臀下垫尿垫,虽然也可以吸收患者外漏的尿液,但是由于患者会阴部及臀部潮湿易引起失禁性皮炎,失禁性皮炎是失禁患者最常见的护理问题,有报道显示,大小便失禁达 6 周,皮炎的发生率增至 51%,住院患者失禁性皮炎的患病率为20%-27%,发病率为 19%-50%。失禁性皮炎在重症监护病房患者中发病率更是高达 36%-50%。本新型导尿管可以在当尿液从尿道口溢出时予以吸收,不会让患者会阴部及臀部被尿液浸湿, 保持患者会阴部及臀部干燥。
3.8本新型尿管与普通尿管相比,成本多了一个防水吸水层,但该吸水层成本低,而且降低了因为患者漏尿而引起的尿路感染率和失禁性皮炎率,增加了患者舒适性,值得临床推广。
参考文献:
[1]汪玲怡.预防留置导尿管患者泌尿系统感染的护理体会[J].实用心脑肺血管病杂志,2010,18(11):1715-1715.
[2]冯洁惠,徐建宁,俞超,等.ICU 医院感染控制质量查检单的设计及应用[J]. 中华护理杂志,2013,48(2):153-156.
[3]肖永红,王进,朱燕,等.Mohnarin 2008 年度全国细菌耐药监测[J]. 中华医院感染学杂志,2010,20(16):2377-2383.
[4]何群,张冉,王敏,蔡继明,等.ICU 导尿管相关性尿路感染发生因素与病原学分析[J]. 中华医院感染学杂志,2011,21(19):4040-4042.
[5]韦咏坊.留置导尿与尿路感染相关因素的研究进展[J].护士进修杂志,2010,25(3):206-208.
[6]冯小华,陈诗绮 . 导尿管相关尿路感染的危险因素探讨[J].世界最新医学信息文摘 ,2016,16(47):74,77.
[7]陈卫红,左翼,王丽丽,谢莎.物理抗菌材料对男性经尿道手术后预防尿路感染的临床护理观察[J].中国医药导报,2014,11(10):112-114.
[8]王秀云,肖文辉,姜晶.妇科术后留置导尿管尿路感染的危险因素及干预措施[J].中华医院感染学杂志,2014,24(9):2297-2298,2314.
《一种新型防漏尿导尿管的研制论文》附论文PDF版下载:
http://www.lunwensci.com/uploadfile/2018/1020/20181020040812965.pdf
关注SCI论文创作发表,寻求SCI论文修改润色、SCI论文代发表等服务支撑,请锁定SCI论文网!
文章出自SCI论文网转载请注明出处:https://www.lunwensci.com/yixuelunwen/1266.html