SCI论文(www.lunwensci.com):
摘要:介绍了几种典型大型游乐设施实际操作考培装置, 这类装置利用游乐设施实物, 加装有效的感应装置, 可以紧扣大型游乐 设施作业人员考试大纲, 采用模拟加实际动手操作方式, 具有考评效果高效、准确、客观、公正且考培成本较低的优点。全程采 用电脑自动判别, 大大方便了大型游乐设施作业人员实操考试的管理, 可以避免人工打分考核, 从而可以降低考试成本, 且提高 了考试成绩的客观性, 更能体现考生的真实操作技能, 实现了大型游乐设施作业人员实操考试“信息化”, 让真正合格的大型游乐 设施作业人员持证上岗, 能减少因人员操作不当而造成特种设备安全事故的发生。
关键词:大型游乐设施; 考培装置; 考试系统; 操作技能
Introduction to Several Typical Large-scale Amusement Facilities With a Colestone Installation
Shen Jie, Liu Xiaochang, Wang Chen
(Shanghai Institute of Special Equipment Supervision and Inspection Technology, Shanghai 200062, China)
Abstract: Several typical large-scale amusement facilities examination and training devices were introduced, which using amusement facilities to install effective induction devices, could closely follow the examination outline of large-scale amusement facilities operators, and adopted simulation plus practical operation mode, had the advantages of high efficiency, accuracy, objectivity, impartiality and low cost of examination and training. Computer automatic discrimination was adopted in the whole process, it greatly facilitated the management of the practical examination for the operators of large amusement facilities, avoided manual scoring and examination, thus reducing the cost of the examination, improving the objectivity of the examination results, and better reflected the real operation skills of the candidates. It realized the informatization of the practical examination for the operators of large amusement facilities, and allowed the truly qualified operators of large amusement facilities to work with certificates, could reduce the occurrence of special equipment safety accidents caused by improper operation of personnel.
Key words: large amusement facilities; examination and training device; exam system; operational skills
0引言
随着国民经济的不断发展,人们在满足物质生活的同时,对精神文化生活也提出了更高的需求。在这背景下,全国各地一个又一个的主题乐园、大型游乐场、嘉年华等随之如雨后春笋般拔地而起。随着科学技术的迭代进步,现代游乐设施充分运用了机械、电气、声光、计算机等先进技术,越来越具有集惊险性、知识性、趣味性、科学性于一体,并向更高、更快、更刺激的方向发展,由此深受广大青少年及儿童的普遍喜爱。在对丰富人们的娱乐生活,锻炼人们的体魄,陶冶人们的情操,美化城市环境,游乐设施发挥了积极的作用,因此游乐设施的安全运行越来越受到大众及相关监管部门的的关注。
大型游乐设施的安全运行,与设备操作人员的操作技能、安全意识、紧急处置能力等密不可分[1]。大型游乐设施操作人员是国家市场监督管理总局规定的特种设备作业人员之一,凡从事大型游乐设施的操作人员必须经过培训和考试合格后取得安全管理和作业人员证 (Y2),方可从事相关的设备操作工作[2]。大型游乐设施的安全运营,离不开作业人员扎实的安全操作技能和对安全知识的了解。近几年,由于作业人员未按操作规程操作设备或者对设备性能不熟悉,导致大型游乐设施安全事故时有发生[3-5]。
许多游乐设施事故表明,因操作人员操作不当而造成事故的发生概率是占比比较大的。主要表现在:人员流动性大,流失性也大,文化水平不高;无证上岗擅自操作设备;启动设备前,未向乘客讲解安全注意事项;未谢绝不符合乘坐条件的乘客参与游乐活动;未对保护乘客的安全防护装置(如安全带、安全压杠、舱门或进出口处拦挡物的锁紧装置等)是否锁紧进行检查确认;未确认设备是否有问题就开机或确认有问题仍然开机;未发出开机提示信号;未确认周围是否有不安全因素就开机;未及时制止个别乘客的不安全行为;遇到问题不懂如何采取紧急措施等[6]。
由于大型游乐设施的种类和类别众多,目前国内对大型游乐设施作业人员的实际操作考试做的比较好的是配置各种大型游乐设施实物,需要把整台设备全部安装在考试场所,这样就导致考试场所占地面积较大,资金投入大、考试效率低等问题。第二种是租用乐园的设备进行实际操作考试,这样的结果就是把考场设在了第三方乐园内,往往会导致考试过程不受控等缺点。第三种是考试机构制造各种看板和图片,考评员通过面对面问答的形式进行考试,不能真实体现考生的实际操作技能。以上常见的实操考试方式都是人工进行打分考核,这样导致考培成本较高,考试打分具有主观性的缺点,考试结果人为因素影响很大,很难保证考生真正掌握了实际操作能力[7]。
1装置介绍
大型游乐设施的安全装置是保证设备安全运营和保护乘客的安全必不可少的重要组成部分,也是操作人员在日常工作中操作和检查的重点部分,所以操作人员应严格按照操作规程和日常安全检查制度对防护装置进行严格检查。因此在大型游乐设施操作人员培训过程中,各培训机构或运营单位一定要让操作人员熟悉安全装置的结构及其工作原理,熟练地操作、检查此类装置。按照《特种设备作业人员考核规则》(TSGZ6001-2019)的要求,考试机构不仅要考核操作人员对应急救援的处置应对能力,还要考核设备运行全过程操作人员的工作流程,其中最主要的是考核操作人员能否熟练掌握对大型游乐设施安全保护装置及附件的检查和操作。大型游乐设施实操考培装置,是大型游乐设施考试系统内的重要组成部分,利用游乐设施实物,加装有效的感应装置,能高效、准确、客观、公正地验证考生的操作技能,减少人工的介入,能有效节约考培成本。
1.1护胸压肩式安全压杠游乐设施考培装置
护胸压肩式安全压杠常用于座舱翻滚、以及人体上抛、颠倒等的游乐设施,如过山车、垂直发射或自由落体穿梭机、翻滚类的高空搅月、遨游太空等乘客会倒悬的、天旋地转等多自由度的大型游乐设施[8],如图1所示。

图1护胸压肩式安全压杠
护胸压肩式安全压杠游乐设施实操考培装置是在常见的护胸压肩式安全压杠装置基础上加装了安全压杠锁紧验证器、安全带锁定验证器和安全压杠释放装置等,如图2所示。安全压杠锁紧验证器是以一个或多个红外传感器组成,设置在座椅本体的背部,以验证安全压杠是否压紧,这样无需人工判定考生是否对安全压杠进行了压紧的操作。安全带锁定验证器是一个卡扣传感器,设置在安全带一端的卡槽内,当安全带另一端的卡片插入卡槽内时,得到一个信号,能验证安全带是否系好,这样无需人工判定考生是否有对系好安全带进行验证的操作。安全压杆释放装置由一个电磁阀组成并与后台控制器相连接,且电磁阀与安全压杠一端直接连接,用于释放安全压杠。其功能是当上一个考生考完后,安全压杠处于不完全释放状态时,为了方便下个考生考试,操作后台控制器(即考试面板),电磁阀能控制安全压杠完全释放,这样在整个考试期间无需人力去释放安全压杠,有效验证了考试人员的操作技能,节约了人力成本。

图2护胸压肩式安全压杠游乐设施考培装置
1.2碰碰车类大型游乐设施考培装置
此类设备主要运动特点:在固定的车场内运行,由电力、人力及内燃机动力驱动,车体可相互碰撞的游乐设施[9],如图3~4所示。

图3无天网碰碰车 图4有天网碰碰车
碰碰车类大型游乐设施实操考培装置是在常见的碰碰车车体上设置安全带牢固验证器、安全带锁定验证器和缓冲组件检查验证器等,如图5所示。安全带牢固验证器是由一个拉力传感器组成,设置在安全带端部与碰碰车车体固定连接处,验证安全带安装是否牢固。考试时考生检查、拉扯安全带,拉力传感器就会动作,把信号传输给后台控制器,这样无需人工判定考生是否检查所述安全带是否牢固的操作,有效验证了考试人员的操作技能。安全带锁定验证器是一个卡扣传感器,设置在安全带一端的卡槽内,当安全带另一端的卡片插入卡槽内时,得到一个信号,能验证安全带是否系好,这样无需人工判定考生是否有对系好安全带进行验证的操作。缓冲组件检查验证器是由至少4个雷达监测器组成,并设置在碰碰车车体的四周,以检测操作人员是否对车身四周的缓冲组件存在老化、损坏、脱落等情况进行检查,这样无需人工判定考生是否有检查所述缓冲组件完好。

图5碰碰车类大型游乐设施考培装置
1.3单车滑行车类大型游乐设施考培装置
如图6所示,以疯狂老鼠为例,此类设备属于滑行车类大型游乐设施,车辆沿高架轨道依靠惯性,一辆接一辆;从高到低高速运行,犹如一只只老鼠正在疯狂追逐,使乘客在游玩中得到欢乐[10]。

图6疯狂老鼠
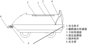
单车滑行车类大型游乐设施实操考培装置是在车体上设置安全扶手检查验证器、安全带锁定验证器和缓冲组件检查验证器,如图7所示。安全扶手检查验证器是一个能发光的触摸感应传感器,考生用手触碰会让传感器动作,验证安全扶手安装是否牢固,这样无需人工判定考生是否检查安全扶手是否牢固的操作。安全带锁定验证器是一个卡扣传感器,设置在安全带一端的卡槽内,当安全带另一端的卡片插入卡槽内时,得到一个信号,能验证安全带是否系好,这样无需人工判定考生是否有对系好安全带进行验证的操作,有效验证了考试人员的操作技能。缓冲组件检查验证器为一个雷达监测器,能够检测考生是否对所述缓冲组件进行检查,这样无需人工判定考生是否有检查所述缓冲组件完好。

图7单车滑行车类大型游乐设施考培装置
以上介绍的几种典型大型游乐设施考培装置与后台管理主控制器通过I/O或者模块DTU进行有线通讯连接,或者通过蓝牙、WiFi、4G网络、5G网络等进行无线连接。
2结束语
随着人们生活水平的日益提高和休闲时间的增加,游乐行业为大家提供了休闲娱乐的好去处,游乐设施之所以富于吸引力关键在于惊险和刺激,为平淡的生活带来了一丝精彩,因此也从另一方面提出了更加重要的要求,即确保游乐设施运营的安全。游乐设备必须做到安全,只有安全才能真正满足游客对娱乐的最大需求,游乐设施的安全运行是游乐行业永恒的主题。分析近几年事故发生的主要原因,因操作人员的操作技能不熟练、安全意识淡薄、紧急处置能力不足等因素占很大比例,所以一名合格的操作人员是保证设备安全运行的重要环节。
大型游乐设施实操考培装置可以实现多种大型游乐设施的考试和培训的功能,可以紧扣大型游乐设施作业人员考核大纲,采用模拟加实际动手操作方式,具有考培成本较低,考评效果高效、准确、客观、公正的优点。全程电脑自动判别,无需专门在作业现场考试,对比传统考评人员和考务人员填写纸质材料,此装置大大方便了大型游乐设施作业人员实操考试的管理,可以避免人工打分考核,因为利用人工打分导致考培成本较高,且人工考试打分具有偏主观性的缺点,不能体现考生的真实操作技能,减少了人工的介入,从而可以降低考试成本,且提高了考试成绩的客观性,更能体现考生的真实操作技能,实现了大型游乐设施作业人员实操考试“信息化”,让真正合格的大型游乐设施作业人员持证上岗,减少因人员操作不当而造成特种设备安全事故的发生。
参考文献:
[1]缪正荣.大型游乐设施操作员[M].北京:中国劳动社会保障出版社,2014.
[2]TSGZ6001-2013,特种设备作业人员考核规则[S].
[3]孙永政.质检总局:开展"遨游太空"大型游乐设施隐患排查[EB/OL].(2017-02-07).http://news.cnr.cn/native/gd/20170205/t20170205_523556905.shtml.
[4]刘羡.女游客游乐场体验项目坠亡相关部门已成立调查组[EB/OL].(2018-05-31).https://www.chinanews.com.cn/sh/2018/05-31/8527291.shtml.
[5]叶双莲.十龄男童魂断"峡谷漂流"两名操作员被刑拘[EB/OL].(2011-10-08).http://news.66wz.com/system/2011/10/08/102815178.shtml.
[6]李向东.大型游乐设施安全管理与作业人员培训教程[M].北京:机械工程出版社,2018.
[7]江梦瑶,董浩明.大型游乐设施管理中存在的主要问题及对策探讨[J].装备制造技术,2013(11):95-97.
[8]沈勇.游乐设施作业与管理[M].北京:学苑出版社,2014.
[9]GB/T18169-2008,碰碰车类游艺机通用技术条件[S].
[10]GB/T18159-2019,滑行车类游乐设施通用技术条件[S].
关注SCI论文创作发表,寻求SCI论文修改润色、SCI论文代发表等服务支撑,请锁定SCI论文网!
文章出自SCI论文网转载请注明出处:https://www.lunwensci.com/ligonglunwen/45547.html